TrainWeb.org Facebook Page
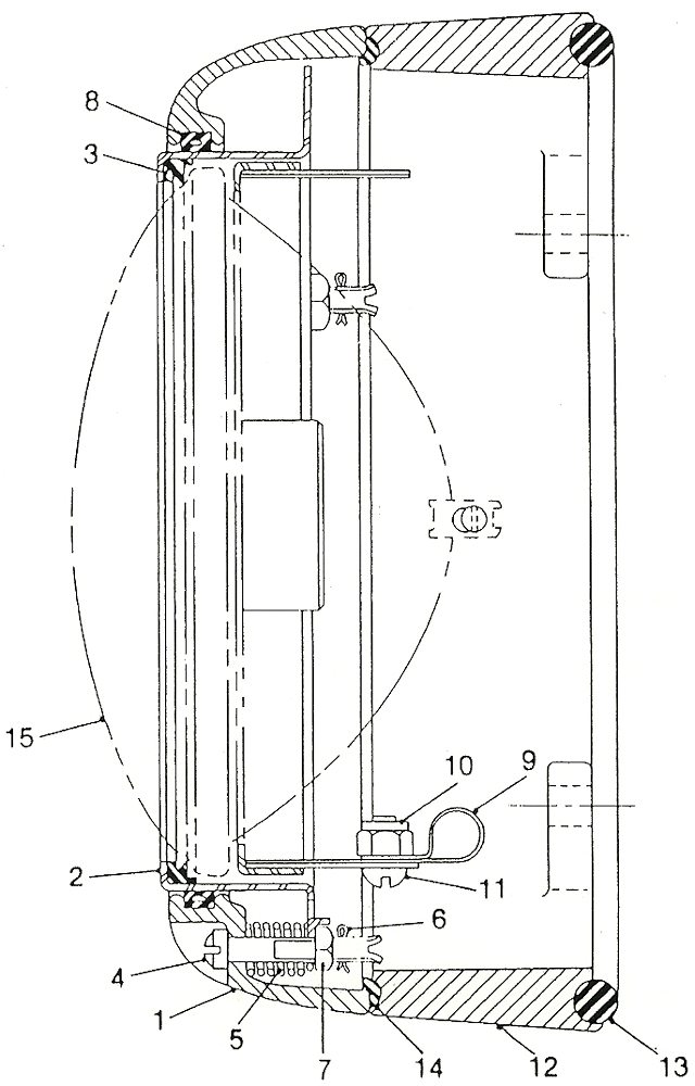
F59PH DITCH / BACKUP LIGHTS
 
| F59PH Diagram/Schematic Index | GO Motive Power Index |
 
GO F59PH DITCH LIGHTS and BACKUP LIGHT
Enter number between 1 & 15 for detail:
F59PH Ditch/backup Lights
Ditch Light

Exterior

Interior

 
| F59PH Diagram/Schematic Index | GO Motive Power Index |